欢迎来到中国首家知识产权垂直服务平台——帮注网!
登录  |  注册  |  我要报错  |  我要投诉  |  添加商户  | 
帮注网logo 帮注网商标
上海市 [切换城市]

全国城市:

  • 拼音
  • 省份
A
阿克苏地区 阿拉善盟 鞍山市 阿勒泰地区 阿拉尔市 安康市 阿里地区 安顺市 阿坝州 安阳市 安庆市
B
北京市 博尔塔拉州 保定市 巴音郭楞州 包头市 巴彦淖尔市 本溪市 白山市 北屯市 白城市 白银市 宝鸡市 保山市 毕节市 巴中市 北海市 百色市 滨州市 蚌埠市 亳州市
C
昌吉州 承德市 沧州市 长治市 赤峰市 朝阳市 长春市 常州市 重庆市 昌都市 楚雄州 成都市 崇左市 潮州市 长沙市 常德市 郴州市 滁州市 池州市
D
大同市 大连市 丹东市 大庆市 大兴安岭地区 定西市 大理州 德宏州 迪庆州 德阳市 达州市 儋州市 东莞市 东营市 德州市
E
鄂尔多斯市 鄂州市 恩施州
F
抚顺市 阜新市 防城港市 佛山市 抚州市 福州市 阜阳市
G
固原市 果洛州 甘南州 贵阳市 广元市 广安市 甘孜州 桂林市 贵港市 广州市 赣州市
H
邯郸市 哈密市 衡水市 呼和浩特市 呼伦贝尔市 和田地区 葫芦岛市 哈尔滨市 鹤岗市 黑河市 海东市 海北州 淮安市 黄南州 海西州 汉中市 红河州 海口市 海南省直辖 贺州市 河池市 惠州市 河源市 衡阳市 怀化市 黄石市 黄冈市 鹤壁市 菏泽市 合肥市 淮南市 淮北市 黄山市 淮安市 杭州市 湖州市 海南州
J
晋城市 晋中市 锦州市 吉林市 鸡西市 佳木斯市 嘉峪关 金昌市 酒泉市 江门市 揭阳市 荆州市 荆门市 焦作市 济源市 济南市 济宁市 景德镇市 九江市 吉安市 嘉兴市 金华市 九龙半岛
K
克拉玛依市 克孜勒苏州 喀什地区 可克达拉市 昆玉市 昆明市 开封市
L
滦县 廊坊市 临汾市 吕梁市 辽阳市 辽源市 连云港市 兰州市 陇南市 临夏州 拉萨市 林芝市 丽江市 临沧市 六盘水市 泸州市 乐山市 凉山州 柳州市 来宾市 娄底市 洛阳市 漯河市 莱芜市 临沂市 聊城市 龙岩市 六安市 连云港市 丽水市
M
眉山 牡丹江市 绵阳市 眉山市 茂名市 梅州市 马鞍山市
N
南京市 南通市 那曲地区 怒江州 内江市 南宁市 南阳市 南昌市 南平市 宁德市 南通市 宁波市 南充市
P
盘锦市 平凉市 普洱市 攀枝花市 平顶山市 濮阳市 萍乡市 莆田市
Q
迁西县 迁安市 秦皇岛市 齐齐哈尔市 七台河市 庆阳市 曲靖市 黔西南州 黔东南州 黔南州 钦州市 清远市 潜江市 青岛市 泉州市 衢州市
R
日喀则市 日照市
S
十堰市 石家庄市 朔州市 沈阳市 四平市 石河子市 松原市 双河市 双鸭山市 石嘴山市 绥化市 上海市 苏州市 宿迁市 商洛市 山南市 遂宁市 三亚市 三沙市 韶关市 深圳市 汕头市 汕尾市 邵阳市 十堰市 随州市 神农架林区 三门峡市 商丘市 上饶市 三明市 宿州市 绍兴市
T
天津市 吐鲁番市 太原市 通辽市 铁岭市 塔城地区 通化市 图木舒克市 铁门关市 泰州市 唐山市 天水市 铜川市 铜仁市 天门市 泰安市 铜陵市 泰州市 台州市
W
乌鲁木齐市 乌海市 乌兰察布市 五家渠市 吴忠市 无锡市 武威市 渭南市 文山州 梧州市 武汉市 潍坊市 威海市 芜湖市 无锡市 温州市
X
邢台市 忻州市 兴安盟 锡林郭勒盟 徐州市 西宁市 西安市 咸阳市 湘潭市 湘西州 襄阳市 孝感市 咸宁市 仙桃市 新乡市 许昌市 信阳市 新余市 厦门市 宣城市 徐州市 西双版纳州 香港岛 新界
Y
玉田县 阳泉市 运城市 营口市 伊犁州 延边州 银川市 伊春市 盐城市 扬州市 玉树州 延安市 榆林市 玉溪市 宜宾市 雅安市 玉林市 阳江市 云浮市 岳阳市 益阳市 永州市 宜昌市 烟台市 鹰潭市 宜春市 盐城市 扬州市
Z
遵化市 张家口市 中卫市 镇江市 张掖市 昭通市 遵义市 自贡市 资阳市 珠海市 湛江市 肇庆市 中山市 株洲市 张家界市 郑州市 周口市 驻马店市 淄博市 枣庄市 漳州市 镇江市 舟山市
直辖市
北京市 上海市 重庆市 天津市
广东
广州市 深圳市 佛山市 珠海市 东莞市 汕头市 中山市 惠州市 江门市 湛江市 韶关市 茂名市 肇庆市 梅州市 汕尾市 河源市 阳江市 清远市 潮州市 揭阳市 云浮市
浙江
杭州市 宁波市 温州市 绍兴市 嘉兴市 湖州市 金华市 舟山市 台州市 衢州市 丽水市
江苏
南京市 苏州市 无锡市 常州市 南通市 镇江市 徐州市 连云港市 扬州市 淮安市 盐城市 泰州市 宿迁市
山东
济南市 青岛市 烟台市 淄博市 威海市 潍坊市 聊城市 东营市 日照市 莱芜市 临沂市 德州市 泰安市 枣庄市 滨州市 济宁市 菏泽市
福建
福州市 厦门市 泉州市 莆田市 三明市 漳州市 南平市 龙岩市 宁德市
河南
郑州市 新乡市 洛阳市 安阳市 开封市 鹤壁市 焦作市 濮阳市 许昌市 漯河市 三门峡市 南阳市 商丘市 信阳市 周口市 驻马店市 济源市 平顶山市
四川
成都市 绵阳市 广元市 泸州市 乐山市 眉山市 宜宾市 广安市 达州市 雅安市 巴中市 资阳市 阿坝州 南充市 甘孜州 凉山州 自贡市 攀枝花市 德阳市 遂宁市 内江市
河北
石家庄市 唐山市 秦皇岛市 保定市 廊坊市 张家口市 承德市 衡水市 邯郸市 邢台市 沧州市
安徽
合肥市 芜湖市 蚌埠市 安庆市 淮南市 马鞍山市 淮北市 铜陵市 黄山市 滁州市 宣城市 池州市 亳州市 阜阳市 六安市 宿州市
湖南
长沙市 株洲市 常德市 张家界市 岳阳市 益阳市 郴州市 永州市 怀化市 娄底市 湘西州 湘潭市 衡阳市 邵阳市
湖北
武汉市 宜昌市 十堰市 鄂州市 黄石市 黄冈市 襄阳市 荆州市 荆门市 孝感市 咸宁市 随州市 恩施州 仙桃市 潜江市 天门市 神农架林区
辽宁
沈阳市 大连市 丹东市 鞍山市 抚顺市 本溪市 锦州市 营口市 阜新市 辽阳市 盘锦市 铁岭市 朝阳市 葫芦岛市
陕西
西安市 咸阳市 宝鸡市 汉中市 铜川市 渭南市 延安市 榆林市 安康市 商洛市
江西
南昌市 九江市 赣州市 景德镇市 上饶市 萍乡市 新余市 鹰潭市 吉安市 宜春市 抚州市
云南
昆明市 丽江市 大理州 玉溪市 保山市 临沧市 楚雄州 红河州 文山州 德宏州 怒江州 迪庆州 西双版纳州 曲靖市 昭通市 普洱市
黑龙江
哈尔滨市 齐齐哈尔市 大庆市 牡丹江市 佳木斯市 鸡西市 鹤岗市 双鸭山市 伊春市 七台河市 黑河市 绥化市 大兴安岭地区
广西
南宁市 桂林市 柳州市 北海市 钦州市 贵港市 玉林市 百色市 贺州市 河池市 来宾市 崇左市 梧州市 防城港市
新疆
乌鲁木齐市 喀什地区 克拉玛依市 和田地区 哈密市 伊犁州 吐鲁番市 石河子市 图木舒克市 五家渠市 阿克苏地区 北屯市 铁门关市 双河市 可克达拉市 昆玉市 克孜勒苏州 昌吉州 博尔塔拉州 塔城地区 巴音郭楞州 阿勒泰地区 阿拉尔市
贵州
贵阳市 遵义市 六盘水市 安顺市 铜仁市 毕节市 黔西南州 黔东南州 黔南州
吉林
长春市 吉林市 通化市 延边州 松原市 白城市 四平市 辽源市 白山市
内蒙古
呼和浩特市 包头市 鄂尔多斯市 赤峰市 乌兰察布市 呼伦贝尔市 通辽市 巴彦淖尔市 兴安盟 锡林郭勒盟 阿拉善盟 乌海市
山西
太原市 大同市 晋中市 运城市 临汾市 长治市 阳泉市 晋城市 朔州市 忻州市 吕梁市
甘肃
兰州市 酒泉市 武威市 嘉峪关 天水市 金昌市 白银市 张掖市 平凉市 庆阳市 定西市 陇南市 临夏州 甘南州
海南
海口市 三亚市 儋州市 三沙市 海南省直辖
宁夏
银川市 吴忠市 中卫市 固原市 石嘴山市
青海
西宁市 海西州 玉树州 海东市 海北州 黄南州 果洛州 海南州
西藏
拉萨市 林芝市 日喀则市 昌都市 那曲地区 山南市 阿里地区
香港
香港岛 九龙半岛 新界
帮注网联系方式 18621063193
186-2106-3193
首页 > 专利 > 正文

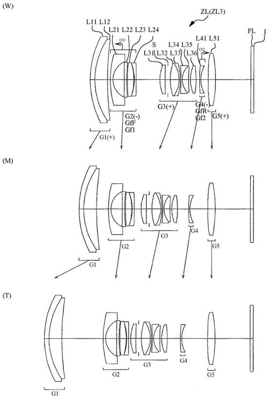
尼康公布24-68mm f/2.8-4全幅无反镜头专利

发布时间:2017-07-29 21:51:44  来源:本站  作者:admin

201151911229773.jpg


近日,尼康在日本公布了一项全画幅无反相机镜头专利技术。跟据专利描述文件显示,这是一款24-68mm f/2.8-4的变焦镜头。上周尼康也曾发布过一款35mm f/2.0无反镜头专利,只不过那款是专为曲面传感器设计的镜头,而这一款则只适用于普通平面传感器。无论镜头适用于何种传感器,尼康的这些专利至少还是证明了公司对于全幅无反市场的野心。


8d7de95cf046a55bebf786bc92beb5da.jpg



-->
COPYRIGHT  © 2017 帮注网版权所有. ALL RIGHTS RESERVED.     |     皖ICP备15007541号-1